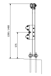
Nordic W H2 High can be installed in different ways. Standard solutions are available for edge beams/plinths in the plane of the road/bridge surface or elevated as well as for concrete or steel foundations (for use in soil).
All installation alternatives for Nordic W H2 High are CE-marked according to EN 1317–5 and approved by SP (Notified Body).
We also offer installations according to the customer’s specifications, e. g. steel brackets for side mounting on wooden bridges. Please contact us for further information.




